

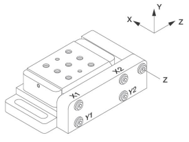
9081-M五轴倾斜调整器将激光束对准通过一个管变得简单。以相反方向等量地调节两个X螺钉或者两个Y螺钉,使您可以实现关于平板中心的倾斜或者旋转。以相同的方向调节它们,使您可以实现纯粹的平移。Z轴调节能够实现沿着光学元件轴的精密平移。它包含一个可移动的安装平台。9081-M具有(7)M6螺纹孔和(2)M4螺纹孔。专利号5,303,035 。
五轴定位器增加了对焦距的控制
9081 五轴对准台增加了对单组分对准平移台的 Z 轴调整,允许沿光轴进行相同精度的平移。此型号还具有可拆卸的安装平台。9081 在其表面上带有用于安装设备和光学元件的 1/4-20 和 8-32 的螺纹孔。9082 宽五轴对准台与 9081 类似,具有更宽的可移动平台,该平台的载重能力更大 (22 N),用于安装更大的组件。
9082 具有相同的 1/4-20 螺纹孔和 8-32 螺纹孔。9081-M 型和 9082-M 型是具有 M4 和 M6 螺纹孔的位移台公制版本。


在紧凑型单元中进行多轴光学定位
运动设备对准台将多个堆叠位移台的功能集成到具有多个促动器的单个位移台。这些位移台被设计为将诸如声光调制器的设备或光学器件对准到光束路径,从而避免因为进行多轴定位而组合部件产生的附加摆动。这些位移台具有将一个光轴对准另一个光轴所需的所有自由度。五轴位移台额外提供对焦点的控制功能,而六轴位移台提供侧倾。每个自由度都有一个用于运动的促动器,从而两个促动器在被移动相等距离时提供平移,而一个促动器的运动提供围绕等分轴的倾斜。然后,通过沿相反方向旋转两个促动器螺钉,使安装板围绕其中心旋转。
移动您的光学器件或隔离器而不是光束
我们的多轴位移台设计用于需要精确定位和高稳定性的应用。这里显示的是使用我们的四轴设备对准位移台将光学调制器与激光束对准的典型应用。

(详细参数见:https://www.newport.com/f/kinematic-device-alignment-stages)
提供真空兼容版本
提供了适用于苛刻真空环境的真空版本。在这些位移台的设计、加工、组装和包装中采取了几个关键步骤。我们将金属结合到我们的设计中,这些金属已知是真空兼容的,并且期望或被批准用于真空系统中。这些材料选自已知的技术来源,例如 CERN 和 NASA 的规格。在我们的设计中,只使用记录了表明其真空兼容性的测试数据的粘合剂和材料。

应用举例:

上图:二次谐波产生(SHG)腔的截面示意图。所有机械部件均直接安装在整体式外壳上。入射耦合镜和出射耦合镜可通过千分螺丝倾斜(Newport 9801-M),而其他反射镜只能平移。温度稳定的BBO晶体安装在五轴对准器上。增透膜窗口允许光学通路进入密封腔。(论文来自于:A highly stable monolithic enhancement cavity for SHG generation in the UV,作者:S. Hannig, et al.)
如有意向购买产品或者相关技术咨询,请联系我们